🤖 Tlias 系统 - 作业部分_1
一、概述
- 后端实战部分讲义:https://heuqqdmbyk.feishu.cn/wiki/NRjLwaRqDiEiFVkHLWGct6zFnNg
- 接口文档:https://heuqqdmbyk.feishu.cn/wiki/GyZVwpRf6ir89qkKtFqc0HlTnhg
❗ 注意:
所有的接口在开发时,一定一定一定 要按照接口文档开发 !!!
否则,和前端进行联调时,将会出现问题 !!!

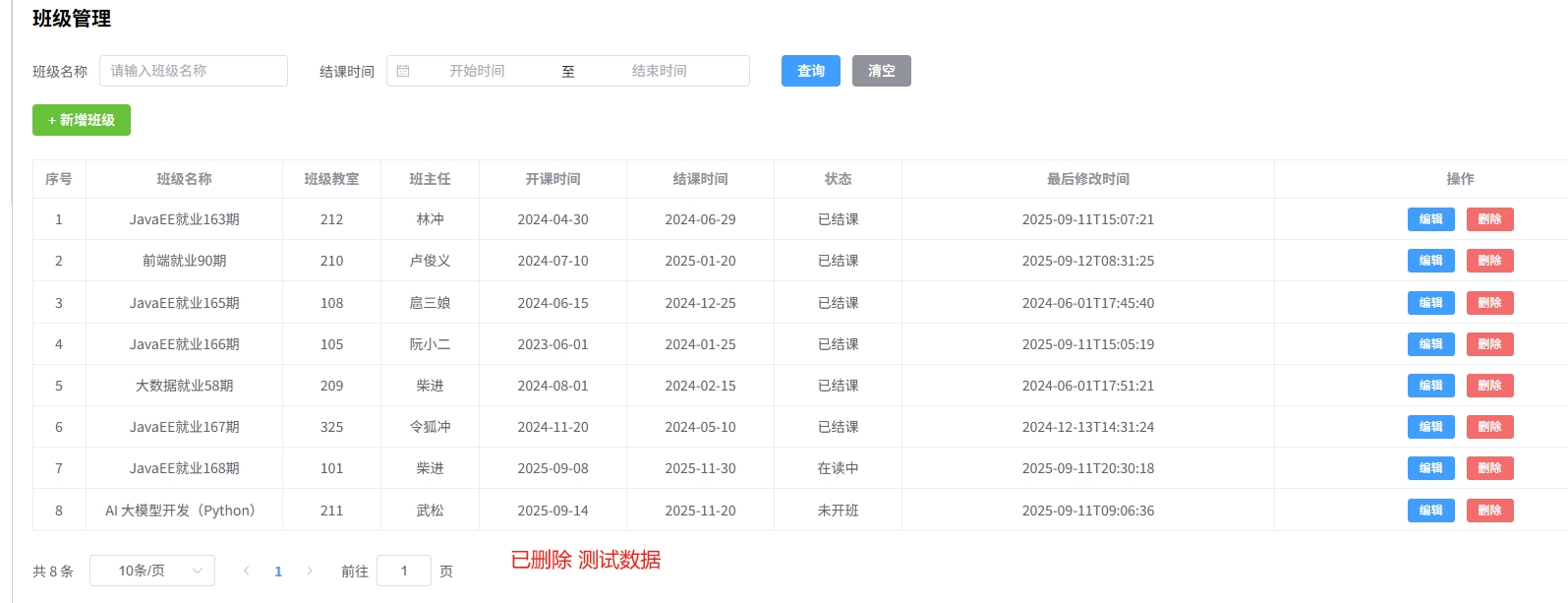
- 如上图,本篇笔记将记录完成
班级管理、学员管理、学员信息统计、 和日志信息统计的 个人笔记
二、数据准备
在数据库中,创建 班级表 clazz , 学员表 student,SQL 如下:
create table clazz(
id int unsigned primary key auto_increment comment 'ID,主键',
name varchar(30) not null unique comment '班级名称',
room varchar(20) comment '班级教室',
begin_date date not null comment '开课时间',
end_date date not null comment '结课时间',
master_id int unsigned null comment '班主任ID, 关联员工表ID',
subject tinyint unsigned not null comment '学科, 1:java, 2:前端, 3:大数据, 4:Python, 5:Go, 6: 嵌入式',
create_time datetime comment '创建时间',
update_time datetime comment '修改时间'
)comment '班级表';
INSERT INTO clazz VALUES (1,'JavaEE就业163期','212','2024-04-30','2024-06-29',10,1,'2024-06-01 17:08:23','2024-06-01 17:39:58'),
(2,'前端就业90期','210','2024-07-10','2024-01-20',3,2,'2024-06-01 17:45:12','2024-06-01 17:45:12'),
(3,'JavaEE就业165期','108','2024-06-15','2024-12-25',6,1,'2024-06-01 17:45:40','2024-06-01 17:45:40'),
(4,'JavaEE就业166期','105','2024-07-20','2024-02-20',20,1,'2024-06-01 17:46:10','2024-06-01 17:46:10'),
(5,'大数据就业58期','209','2024-08-01','2024-02-15',7,3,'2024-06-01 17:51:21','2024-06-01 17:51:21'),
(6,'JavaEE就业167期','325','2024-11-20','2024-05-10',36,1,'2024-11-15 11:35:46','2024-12-13 14:31:24');
create table student(
id int unsigned primary key auto_increment comment 'ID,主键',
name varchar(10) not null comment '姓名',
no char(10) not null unique comment '学号',
gender tinyint unsigned not null comment '性别, 1: 男, 2: 女',
phone varchar(11) not null unique comment '手机号',
id_card char(18) not null unique comment '身份证号',
is_college tinyint unsigned not null comment '是否来自于院校, 1:是, 0:否',
address varchar(100) comment '联系地址',
degree tinyint unsigned comment '最高学历, 1:初中, 2:高中, 3:大专, 4:本科, 5:硕士, 6:博士',
graduation_date date comment '毕业时间',
clazz_id int unsigned not null comment '班级ID, 关联班级表ID',
violation_count tinyint unsigned default '0' not null comment '违纪次数',
violation_score tinyint unsigned default '0' not null comment '违纪扣分',
create_time datetime comment '创建时间',
update_time datetime comment '修改时间'
) comment '学员表';
INSERT INTO student VALUES (1,'段誉','2022000001',1,'18800000001','110120000300200001',1,'北京市昌平区建材城西路1号',1,'2021-07-01',2,0,0,'2024-11-14 21:22:19','2024-11-15 16:20:59'),
(2,'萧峰','2022000002',1,'18800210003','110120000300200002',1,'北京市昌平区建材城西路2号',2,'2022-07-01',1,0,0,'2024-11-14 21:22:19','2024-11-14 21:22:19'),
(3,'虚竹','2022000003',1,'18800013001','110120000300200003',1,'北京市昌平区建材城西路3号',2,'2024-07-01',1,0,0,'2024-11-14 21:22:19','2024-11-14 21:22:19'),
(4,'萧远山','2022000004',1,'18800003211','110120000300200004',1,'北京市昌平区建材城西路4号',3,'2024-07-01',1,0,0,'2024-11-14 21:22:19','2024-11-14 21:22:19'),
(5,'阿朱','2022000005',2,'18800160002','110120000300200005',1,'北京市昌平区建材城西路5号',4,'2020-07-01',1,0,0,'2024-11-14 21:22:19','2024-11-14 21:22:19'),
(6,'阿紫','2022000006',2,'18800000034','110120000300200006',1,'北京市昌平区建材城西路6号',4,'2021-07-01',2,0,0,'2024-11-14 21:22:19','2024-11-14 21:22:19'),
(7,'游坦之','2022000007',1,'18800000067','110120000300200007',1,'北京市昌平区建材城西路7号',4,'2022-07-01',2,0,0,'2024-11-14 21:22:19','2024-11-14 21:22:19'),
(8,'康敏','2022000008',2,'18800000077','110120000300200008',1,'北京市昌平区建材城西路8号',5,'2024-07-01',2,0,0,'2024-11-14 21:22:19','2024-11-14 21:22:19'),
(9,'徐长老','2022000009',1,'18800000341','110120000300200009',1,'北京市昌平区建材城西路9号',3,'2024-07-01',2,0,0,'2024-11-14 21:22:19','2024-11-14 21:22:19'),
(10,'云中鹤','2022000010',1,'18800006571','110120000300200010',1,'北京市昌平区建材城西路10号',2,'2020-07-01',2,0,0,'2024-11-14 21:22:19','2024-11-14 21:22:19'),
(11,'钟万仇','2022000011',1,'18800000391','110120000300200011',1,'北京市昌平区建材城西路11号',4,'2021-07-01',1,0,0,'2024-11-14 21:22:19','2024-11-15 16:21:24'),
(12,'崔百泉','2022000012',1,'18800000781','110120000300200018',1,'北京市昌平区建材城西路12号',4,'2022-07-05',3,6,17,'2024-11-14 21:22:19','2024-12-13 14:33:58'),
(13,'耶律洪基','2022000013',1,'18800008901','110120000300200013',1,'北京市昌平区建材城西路13号',4,'2024-07-01',2,0,0,'2024-11-14 21:22:19','2024-11-15 16:21:21'),
(14,'天山童姥','2022000014',2,'18800009201','110120000300200014',1,'北京市昌平区建材城西路14号',4,'2024-07-01',1,0,0,'2024-11-14 21:22:19','2024-11-15 16:21:17'),
(15,'刘竹庄','2022000015',1,'18800009401','110120000300200015',1,'北京市昌平区建材城西路15号',3,'2020-07-01',4,0,0,'2024-11-14 21:22:19','2024-11-14 21:22:19'),
(16,'李春来','2022000016',1,'18800008501','110120000300200016',1,'北京市昌平区建材城西路16号',4,'2021-07-01',4,0,0,'2024-11-14 21:22:19','2024-11-14 21:22:19'),
(17,'王语嫣','2022000017',2,'18800007601','110120000300200017',1,'北京市昌平区建材城西路17号',2,'2022-07-01',4,0,0,'2024-11-14 21:22:19','2024-11-14 21:22:19'),
(18,'郑成功','2024001101',1,'13309092345','110110110110110110',0,'北京市昌平区回龙观街道88号',5,'2021-07-01',3,2,7,'2024-11-15 16:26:18','2024-11-15 16:40:10');- 表结构关系说明:

- 在
pojo下创建实体类Clazz:
@Data
@NoArgsConstructor
@AllArgsConstructor
public class Clazz {
private Integer id; //ID
private String name; //班级名称
private String room; //班级教室
private LocalDate beginDate; //开课时间
private LocalDate endDate; //结课时间
private Integer masterId; //班主任
private Integer subject; //学科
private LocalDateTime createTime; //创建时间
private LocalDateTime updateTime; //修改时间
private String masterName; //班主任姓名
private String status; //班级状态 - 未开班 , 在读 , 已结课
}- 在
pojo下创建实体类Student:
@Data
@NoArgsConstructor
@AllArgsConstructor
public class Student {
private Integer id; //ID
private String name; //姓名
private String no; //序号
private Integer gender; //性别 , 1: 男 , 2 : 女
private String phone; //手机号
private String idCard; //身份证号
private Integer isCollege; //是否来自于院校, 1: 是, 0: 否
private String address; //联系地址
private Integer degree; //最高学历, 1: 初中, 2: 高中 , 3: 大专 , 4: 本科 , 5: 硕士 , 6: 博士
private LocalDate graduationDate; //毕业时间
private Integer clazzId; //班级ID
private Short violationCount; //违纪次数
private Short violationScore; //违纪扣分
private LocalDateTime createTime; //创建时间
private LocalDateTime updateTime; //修改时间
private String clazzName;//班级名称
}三、班级管理
需要开发如下几个接口,且开发的时候建议按照如下顺序开发 :
- 条件分页查询接口
- 查询所有员工接口
- 新增班级信息接口
- 根据 ID 查询班级接口
- 修改班级信息接口
- 删除班级信息接口
3.1 条件分页查询接口
📌 参考员工管理模块的条件分页查询的实现
3.1.1 需求

📌 注意:
班级状态,显示为:未开班、已结课、在读中 这三种。
如果:
当前时间 > 结课时间:状态未已结课。当前时间 < 开课时间:状态未未开班。- 否则,就是
在读中。
3.1.2 接口文档
- 参照接口文档
班级管理 -> 班级列表查询
3.1.3 思路
- 结合
实体类和数据库表和前端展示的表先初步了解一下需求
- 实体类

- 前端展示的表

- 数据库表

查看接口文档
- 请求路径:
/clazzs - 请求方式 :
GET - 请求数据样例:
/clazzs?name=java&begin=2023-01-01&end=2023-06-30&page=1&pageSize=5 - 响应数据样例 :
json{ "code": 1, "msg": "success", "data": { "total": 6, "rows": [ { "id": 7, "name": "黄埔四期", "room": "209", "beginDate": "2023-08-01", "endDate": "2024-02-15", "masterId": 7, "createTime": "2023-06-01T17:51:21", "updateTime": "2023-06-01T17:51:21", "masterName": "纪晓芙", "status": "已开班" }, { "id": 6, "name": "JavaEE就业166期", "room": "105", "beginDate": "2023-07-20", "endDate": "2024-02-20", "masterId": 20, "createTime": "2023-06-01T17:46:10", "updateTime": "2023-06-01T17:46:10", "masterName": "陈友谅", "status": "未开班" } ] } }- 请求路径:
📌 注意:
从前端展示的表格来看,或者响应数据来看,需要后端返回班主任的名字 masterName ,
而且在班级表的一条班级数据中,只有 master_id , 观察建表给出的注释 comment 可以知道
这个字段其实是关联了员工表的,也就是说,这个需求涉及到多表查询,
需要用 master_id 对应员工表的 id 从而获取到员工表的 name 作为 masterName .
- 三层架构思路:

3.1.4 基础代码准备
准备
Clazz班级管理的基础结构,包括Controller、Service、Mapper
ClazzController
@Slf4j
@RestController
@RequestMapping("/clazzs")
public class ClazzController {
//注入Service层bean
@Autowired
private ClazzService clazzService;
}ClazzService接口
public interface ClazzService {
}ClazzServiceImpl
@Service
public class ClazzServiceImpl implements ClazzService {
//注入Mapper层bean
@Autowired
private ClazzMapper clazzMapper;
}ClazzMapper
@Mapper
public interface ClazzMapper {
}3.1.5 SQL & Mapper
- 从前面可以知道,这是个多表查询,需要查询班级表中的所有信息,及根据
master_id
作为员工表的 id 去查询 masterName 班主任的名字。就可以先考虑一下,如果写一个查询
所有班级的基础的多表查询的 SQL 应该怎么写 ?
-- 涉及到多表查询,需要按照 clazz 的 master_id 对应 emp 表的id 查出对应的班主任名称 masterName
select c.* , e.name as masterName
from clazz as c left join emp as e on c.master_id = e.id;- 查询结果如下:

- 根据这个基本的
SQL尝试着写一个Mapper接口
@Mapper
public interface ClazzMapper {
/**
* 查询所有的班级及班主任姓名
*/
@Select("select c.* , e.name as masterName from clazz as c left join emp as e on c.master_id = e.id")
public List<Clazz> list();
}📌 注意:
注意,上述 SQL 语句中,给 班主任名称 起了别名 masterName ,是因为在接口文档中,
要求部门名称给前端返回的数据中,就必须叫 masterName。 而这里我们需要将查询返回的每一条记录
都封装到 Clazz 对象中,那么就必须保证查询返回的字段名与属性名是一一对应的。
此时,我们就需要在 Clazz 中定义一个属性 masterName 用来封装班主任名称。
刚刚建实体类的时候已经携带 , 具体如下高亮:
@Data
@NoArgsConstructor
@AllArgsConstructor
public class Clazz {
private Integer id; //ID
private String name; //班级名称
private String room; //班级教室
private LocalDate beginDate; //开课时间
private LocalDate endDate; //结课时间
private Integer masterId; //班主任
private Integer subject; //学科
private LocalDateTime createTime; //创建时间
private LocalDateTime updateTime; //修改时间
private String masterName; //班主任姓名
private String status; //班级状态 - 未开班 , 在读 , 已结课
}- 代码编写完毕后,我们可以编写一个单元测试,对上述的程序进行测试:
@SpringBootTest
class TliasWebManagementApplicationTests {
@Autowired
private ClazzMapper clazzMapper;
@Test
public void testClazzList(){
List<Clazz> clazzList = clazzMapper.list();
clazzList.forEach(System.out::println);
}
}- 运行单元测试后,我们看到控制台输出的数据:

可以看到,班级的信息,以及班级对应班主任的名称都查询出来了。
3.1.6 基础分页查询
先完成基础的分页查询,再在此基础上修改为
条件分页查询
3.1.6.1 思路
梳理一下每层要做什么事
- 首先需要用到
PageHelper分页插件,确保依赖已经导入(在前面完成员工管理的时候已经导入)
xml<!--分页插件PageHelper--> <dependency> <groupId>com.github.pagehelper</groupId> <artifactId>pagehelper-spring-boot-starter</artifactId> <version>1.4.7</version> </dependency>记得刷新
maven...application.yml配置
yaml# 分页插件 PageHelper pagehelper: reasonable: true # 启用分页参数的合理性验证 helper-dialect: mysql # 指定数据库的方言在
Controller层 :需要接收分页参数
page和pageSize,需要设置默认值, 使用
@RequestParam(defaultValue = "")log.info打印日志信息
然后调用
service层返回一个PageResult<Clazz> pageResult
- 首先需要用到
把这个
pageResult返回给前端在
Service层 :- 接收参数
page和pageSize - 设置分页参数
PageHelper.startPage(page,pageSize); - 调用
Mapper层接口执行查询操作,获取一个返回的List<Clazz> clazzList
- 接收参数
把
clazzList强转成Page<Clazz>类型封装结果
return new PageResult<Clazz>(p.getTotal(), p.getResult());在
Mapper层 :- 只需要进行正常的列表查询即可,而且不需要考虑分页操作,就是一条正常的查询语句
3.1.6.2 代码实现
ClazzController
/*
查询班级信息及其班主任名称
*/
@GetMapping
public Result page(@RequestParam(defaultValue = "1") Integer page,
@RequestParam(defaultValue = "10") Integer pageSize){
log.info("查询班级信息,page={},pageSize={}",page,pageSize);
PageResult<Clazz> pageResult = clazzService.page(page, pageSize);
return Result.success(pageResult);
}ClazzServiceImpl
@Override
public PageResult<Clazz> page(Integer page, Integer pageSize) {
//1.设置分页参数
PageHelper.startPage(page,pageSize);
//2.调用Mapper层接口执行查询操作
List<Clazz> clazzList = clazzMapper.list();
//3.把返回结果强转成 Page<Clazz> 类型
Page<Clazz> p = (Page<Clazz>) clazzList;
//4.封装结果返回
return new PageResult<Clazz>(p.getTotal(),p.getResult());
}ClazzMapper没有变化,因为有PageHelper, 只需要进行正常的列表查询即可
/**
* 查询所有的班级及班主任姓名
*/
@Select("select c.* , e.name as masterName from clazz as c left join emp as e on c.master_id = e.id")
public List<Clazz> list();3.1.6.3 测试
ApiFox测试 :http://localhost:8080/clazzs

前后端联调

可见,数据我们都是请求到了,并且前端也是接收并渲染好了
只不过还有一个
班级状态我们没有做处理
3.1.6.4 班级状态
在
3.1.1 需求的时候就说明到班级状态如下:
📌 注意:
班级状态,显示为:未开班、已结课、在读中 这三种。
如果:
当前时间 > 结课时间:状态未已结课。当前时间 < 开课时间:状态未未开班。- 否则,就是
在读中。
思考一下,这部分其实我们应该在
Service层做补充,在Service向Mapper层请求到数据后就是一个
List<Clazz>可以遍历出每一个Clazz,并且获取到当前时间,然后把开课时间和结课时间与当前时间做一下比较。
📌 注意:
Mybatis给我们返回来的时间数据已经是LocalDateTime类型了而且我们获取时间使用
LocalDateTime.now()也是LocalDateTime类型两个
LocalDateTime比较时间:isBefore():检查一个时间是否在另一个时间之前。isAfter():检查一个时间是否在另一个时间之后。isEqual():检查两个时间是否相等。
- 代码实现:
@Override
public PageResult<Clazz> page(Integer page, Integer pageSize) {
//1.设置分页参数
PageHelper.startPage(page,pageSize);
//2.调用Mapper层接口执行查询操作
List<Clazz> clazzList = clazzMapper.list();
//3. 补充班级状态
//3.1 获取当前时间
LocalDateTime now = LocalDateTime.now();
//3.2 遍历出每个Clazz对象,把开课时间和结课时间与当前时间做一下比较
clazzList.forEach(clazz -> {
//做判断,然后给clazz的status赋值
if(clazz.getBeginDate().isAfter(ChronoLocalDate.from(now))){
//开课时间在当前时间后面,说明未开班
clazz.setStatus("未开班");
} else if (clazz.getEndDate().isBefore(ChronoLocalDate.from(now))) {
//结课时间在当前时间之前,说明已结课
clazz.setStatus("已结课");
}else{
//其他就是在读中
clazz.setStatus("在读中");
}
});
//4.把返回结果强转成 Page<Clazz> 类型
Page<Clazz> p = (Page<Clazz>) clazzList;
//5.封装结果返回
return new PageResult<Clazz>(p.getTotal(),p.getResult());
}- 测试:


3.1.7 条件分页查询
做完了分页查询后,下面我们需要在分页查询的基础上,添加条件。
3.1.7.1 需求

- 可以看到页面原型及需求中的描述,搜索栏的搜索条件有两个:
- 班级名称 :
模糊匹配 - 结课时间:
范围匹配
- 班级名称 :
3.1.7.2 SQL
在前面我们写了一个基本的 查询全部班级及其班主任名称的 SQL 语句,可以尝试根据条件描述
添加上 班级名称 和 结课时间 这两个条件,写一个示例的 SQL:
sqlselect c.* , e.name as masterName from clazz as c left join emp as e on c.master_id = e.id where c.name like '%java%' and c.end_date between '2024-01-01' and '2024-03-03';比如上述这个添加了 班级名称(模糊匹配有
java)的 并且 结课时间在2024-01-01到2024-03-03这两个条件的,运行的效果如下:

- 经过条件的筛选后,6 条数据 只有一条满足条件
3.1.7.3 功能开发
- 请求路径:
/clazzs - 请求方式 :
GET - 请求数据样例:
/clazzs?name=java&begin=2023-01-01&end=2023-06-30&page=1&pageSize=5
- 在原有分页查询的代码基础上进行改造:
- 1). 在
ClazzController方法中通过多个方法形参,依次接收这几个参数
/*
查询班级信息及其班主任名称
*/
@GetMapping
public Result page(@RequestParam(defaultValue = "1") Integer page,
@RequestParam(defaultValue = "10") Integer pageSize,
String name,
@DateTimeFormat(pattern = "yyyy-MM-dd") LocalDate begin,
@DateTimeFormat(pattern = "yyyy-MM-dd") LocalDate end){
log.info("查询班级信息,请求参数:{},{},{},{},{}",page,pageSize,name,begin,end);
PageResult<Clazz> pageResult = clazzService.page(page, pageSize,name,begin,end);
return Result.success(pageResult);
}2). 修改
ClazzService及ClazzServiceImpl中的代码逻辑ClazzService
public interface ClazzService {
/*
条件分页查询
*/
PageResult<Clazz> page(Integer page, Integer pageSize, String name, LocalDate begin , LocalDate end);
}ClazzServiceImpl
@Override
public PageResult<Clazz> page(Integer page, Integer pageSize, String name, LocalDate begin, LocalDate end) {
//1.设置分页参数
PageHelper.startPage(page,pageSize);
//2.调用Mapper层接口执行查询操作
List<Clazz> clazzList = clazzMapper.list(name,begin,end);
//3. 补充班级状态
//3.1 获取当前时间
LocalDateTime now = LocalDateTime.now();
//3.2 遍历出每个Clazz对象,把开课时间和结课时间与当前时间做一下比较
clazzList.forEach(clazz -> {
//做判断,然后给clazz的status赋值
if(clazz.getBeginDate().isAfter(ChronoLocalDate.from(now))){
//开课时间在当前时间后面,说明未开班
clazz.setStatus("未开班");
} else if (clazz.getEndDate().isBefore(ChronoLocalDate.from(now))) {
//结课时间在当前时间之前,说明已结课
clazz.setStatus("已结课");
}else{
//其他就是在读中
clazz.setStatus("在读中");
}
});
//4.把返回结果强转成 Page<Clazz> 类型
Page<Clazz> p = (Page<Clazz>) clazzList;
//5.封装结果返回
return new PageResult<Clazz>(p.getTotal(),p.getResult());
}📌 由于 SQL 语句比较复杂,建议将 SQL 语句配置在 XML 映射文件中。
新增 Mapper 映射文件
ClazzMapper.xml- 路径:
resource/com/itheima/mapper/ClazzMapper.xml - 1). 先搭好
dtd约束:
xml<?xml version="1.0" encoding="UTF-8" ?> <!DOCTYPE mapper PUBLIC "-//mybatis.org//DTD Mapper 3.0//EN" "http://mybatis.org/dtd/mybatis-3-mapper.dtd"> <mapper namespace=""> </mapper>- 2).
namespace属性为Mapper接口全限定名
xml<?xml version="1.0" encoding="UTF-8" ?> <!DOCTYPE mapper PUBLIC "-//mybatis.org//DTD Mapper 3.0//EN" "http://mybatis.org/dtd/mybatis-3-mapper.dtd"> <mapper namespace="com.itheima.mapper.ClazzMapper"> </mapper>- 3).
动态SQL语句:
xml<?xml version="1.0" encoding="UTF-8" ?> <!DOCTYPE mapper PUBLIC "-//mybatis.org//DTD Mapper 3.0//EN" "http://mybatis.org/dtd/mybatis-3-mapper.dtd"> <mapper namespace="com.itheima.mapper.ClazzMapper"> <select id="list" resultType="com.itheima.pojo.Clazz"> select c.* , e.name as masterName from clazz as c left join emp as e on c.master_id = e.id <where> <if test="name != null and name != ''"> c.name like concat('%',#{name},'%') </if> <if test="begin != null and end != null"> and c.end_date between #{begin} and #{end} </if> </where> </select> </mapper>📌 回顾:两个动态SQL标签
<if>:判断条件是否成立,如果条件为true,则拼接SQL。<where>:根据查询条件,来生成where关键字,并会自动去除条件前面多余的and或or。- 路径:
3.1.7.4 测试
记得重新启动服务 ...
Apifox测试 :

- 前后端联调:

3.2 查询所有员工接口
3.2.1 需求
那其实,对于培训机构来说,班主任就是这个企业的员工。所以,班主任下拉列表中
展示的就是所有的员工职位为班主任的数据。
参照接口文档 员工管理 --> 查询全部员工

3.2.2 接口文档
请求路径:
/emps/list请求方式:
GET接口描述:该接口用于查询全部员工信息 .
响应数据样例:
{
"code": 1,
"msg": "success",
"data": [
{
"id": 21,
"username": "zcc",
"password": "123456",
"name": "周星驰",
"gender": 1,
"image": "https://web-65.oss-cn-beijing.aliyuncs.com/99c143e9-0241-41f3-bc55-dd5e4e0824f4.jpg",
"job": 1,
"salary": 8000,
"entryDate": "2023-04-23",
"deptId": 2,
"createTime": "2023-05-26T17:25:01",
"updateTime": "2023-06-04T19:25:15"
},
{
"id": 6,
"username": "xiaozhao",
"password": "123456",
"name": "小昭",
"gender": 2,
"image": "https://web-65.oss-cn-beijing.aliyuncs.com/da94dc38-f165-480c-b8b7-0b3f4bcd1602.jpg",
"job": 3,
"salary": 8000,
"entryDate": "2013-09-05",
"deptId": 1,
"createTime": "2023-04-07T11:16:00",
"updateTime": "2023-04-14T08:22:41"
}
]
}3.2.3 功能开发
- 既然是查询全部员工信息,就写在员工管理部分的代码里。
📌 注意:
需要注意的是,虽然说是 查询所有员工接口 , 但其实我们的 Emp 是有 job 的
1:班主任,2:讲师,3:学工主管,4:教研主管,5:咨询师 我们需要在查询的时候加上条件
job 为 1 也就是 班主任才返回
EmpController
/*
查询所有员工数据(班级管理的班主任下拉列表)
*/
@GetMapping("/list")
public Result list(){
log.info("查询所有员工数据...");
List<Emp> empList = empService.list();
return Result.success(empList);
}EmpService
/*
查询所有员工数据(班级管理的班主任下拉列表)
*/
List<Emp> list();EmpServiceImpl
/*
查询所有员工数据(班级管理的班主任下拉列表)
*/
@Override
public List<Emp> list() {
return empMapper.listAll();
}EmpMapper
/*
查询所有员工数据(班级管理的班主任下拉列表)
*/
@Select("select * from emp")
List<Emp> listAll();📌 注意:
前面根据查询条件查询员工的命名是
List<Emp> list(EmpQueryParam empQueryParam);
这里就不能用 list() 了
3.2.4 测试
Apifox测试:

- 前后端联调:

3.3 新增班级信息接口
3.3.1 需求

在表单中录入信息,对应的表结构是
Clazz,而且里面的班主任也是在已有员工职位为班主任的里面选
不涉及到多表的操作,还是不太复杂的。
3.3.2 接口文档
参照接口文档 班级管理 --> 添加班级
请求路径:
/clazzs请求方式:
POST接口描述:该接口用于添加班级信息

- 请求数据样例:
{
"name": "JavaEE就业166期",
"room": "101",
"beginDate": "2023-06-01",
"endDate": "2024-01-25",
"masterId": 7,
"subject": 1
}📌 回顾:
- 问题1:如何限定请求方式是 POST ?
@PostMapping - 问题2:怎么在
controller中接收json格式的请求参数?@RequestBody
3.3 功能开发
首先因为是
json格式的请求数据需要准备一个实体类来接收我们发现
Clazz就已经包含这些属性,所以直接用Clazz就好了
- 在
ClazzController里面添加sava方法
/*
新增班级信息
*/
@PostMapping
public Result save(@RequestBody Clazz clazz){
log.info("新增班级: {}",clazz);
clazzService.save(clazz);
return Result.success();
}- 在
ClazzService中增加save方法
/*
新增班级
*/
void save(Clazz clazz);- 在
ClazzServiceImpl中增加save方法 , 实现接口中的save方法
/*
新增班级信息
*/
@Override
public void save(Clazz clazz) {
//补全基础属性
clazz.setCreateTime(LocalDateTime.now());
clazz.setUpdateTime(LocalDateTime.now());
//保存新班级
clazzMapper.insert(clazz);
}- 在
ClazzMapper中增加insert方法
/*
新增班级信息
*/
@Insert("insert into clazz(name,room,begin_date,end_date,master_id,subject,create_time,update_time) values " +
"(#{name},#{room},#{beginDate},#{endDate},#{masterId},#{subject},#{createTime},#{updateTime})")
void insert(Clazz clazz);3.4 测试
Apifox测试:

- 前后端联调:


3.4 根据ID查询班级接口
3.4.1 需求

- 需要在点击
编辑按钮的时候根据 ID 查询对应的班级信息,然后回显到前端的表单里。
3.4.2 接口文档
参照接口文档 班级管理 -> 根据ID查询
请求路径:
/clazzs/{id}请求方式:
GET接口描述:该接口用于根据主键 ID 查询班级的信息
请求参数:路径参数
请求参数样例 :
/clazzs/8响应数据样例:
{
"code": 1,
"msg": "success",
"data": {
"id": 8,
"name": "JavaEE就业166期",
"room": "101",
"beginDate": "2023-06-01",
"endDate": "2024-01-25",
"masterId": 7,
"subject": 1,
"createTime": "2023-06-04T17:37:45",
"updateTime": "2023-06-04T17:37:45"
}
}📌 注意:路径参数用到的注解是 @PathVariable
3.4.3 功能开发
ClazzController
/*
* 根据ID查询班级的详细信息
*/
@GetMapping("/{id}")
public Result getInfo(@PathVariable Integer id){
log.info("根据 id : {} 查询员工信息",id);
Clazz clazz = clazzService.getInfo(id);
return Result.success(clazz);
}ClazzService
/*
* 根据ID查询班级的详细信息
*/
Clazz getInfo(Integer id);ClazzService
/*
* 根据ID查询班级的详细信息
*/
@Override
public Clazz getInfo(Integer id) {
return clazzMapper.getById(id);
}ClazzMapper
/*
* 根据ID查询班级的详细信息
*/
@Select("select * from clazz where id=#{id}")
Clazz getById(Integer id);3.4.4 测试
Apifox测试:

- 前后端联调:

3.5 修改班级信息接口
3.5.1 需求
前面
3.4我们已经实现把对应的班级信息回显到前端页面的表单上了接下来如果用户对信息进行了更改,点击了保存按钮,那么我们就要更新这个班级信息

3.5.2 接口文档
参照接口文档
班级管理-->修改班级请求路径:
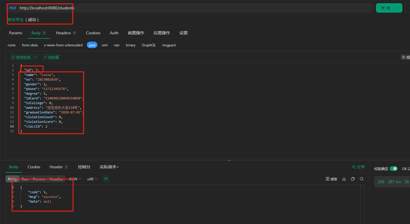
/clazzs请求方式:
PUT接口描述:该接口用于修改班级的数据信息
请求参数:
application/json请求参数样例:
{
"id": 2,
"name": "前端就业90期(修改测试)",
"room": "210",
"beginDate": "2024-07-10",
"endDate": "2025-01-20",
"masterId": 3,
"subject": 2,
"createTime": "2023-06-01T17:46:10",
"updateTime": "2023-06-01T17:46:10"
}3.5.3 功能开发
- 1).
ClazzController增加update方法接收请求参数,响应数据
//修改班级
@PutMapping
public Result update(@RequestBody Clazz clazz) {
log.info("修改班级信息 : {}", clazz);
clazzService.update(clazz);
return Result.success();
}- 2).
ClazzService接口增加update方法
//修改班级信息
void update(Clazz clazz);- 3).
ClazzServiceImpl实现类实现update方法
//修改班级信息
@Override
public void update(Clazz clazz) {
//修改更新时间
clazz.setUpdateTime(LocalDateTime.now());
//调用mapper更新数据库
clazzMapper.updateById(clazz);
}- 4).
ClazzMapper接口中增加updateById方法
//修改班级信息
void updateById(Clazz clazz);- 5).
ClazzMapper.xml配置文件中定义对应的 SQL 语句,基于动态 SQL 更新班级信息
<!-- 修改班级信息 -->
<update id="updateById">
update clazz
<set>
<if test="name != null and name != ''">name = #{name},</if>
<if test="room != null and room != ''">room = #{room},</if>
<if test="beginDate != null">begin_date = #{beginDate},</if>
<if test="endDate != null">end_date = #{endDate},</if>
<if test="masterId != null">master_id = #{masterId},</if>
<if test="subject != null">subject = #{subject},</if>
<if test="createTime != null">create_time = #{createTime},</if>
<if test="updateTime != null">update_time = #{updateTime},</if>
</set>
where id = #{id}
</update>📌 回顾:
通过
if标签来进行如果我们某些参数没有传参数过来,这时候我们就不修改其原来的值,如果传过来了,就执行相应的修改语句,这样应该能保证数据完整性
<set>标签用来替换set关键字,可以自动帮助我们生成set关键字,同时可以自动去除掉更新字段后面多余的逗号
3.5.4 测试
Apifox测试:

- 前后端联调:

3.6 删除班级信息接口
3.6.1 需求

- 当我们点击后面的
删除按钮的复选框,然后再确认就可以根据 ID 删除这个班级的信息
3.6.2 接口文档
参照接口文档
班级管理-->删除班级请求路径:
/clazzs/{id}请求方式:
DELETE接口描述:该接口用于删除班级信息
请求参数:路径参数
请求参数样例:
/clazzs/5
3.6.3 功能开发
- 在
ClazzController中增加如下方法delete,使用路径参数请求,执行删除班级的操作。
//删除班级信息
@DeleteMapping("/{id}")
public Result delete(@PathVariable Integer id){
log.info("删除班级信息: id 为 {}",id);
clazzService.delete(id);
return Result.success();
}- 在接口中
ClazzService中定义接口方法delete
//删除班级信息
void delete(Integer id);- 在实现类
ClazzServiceImpl中实现接口方法delete
//删除班级信息
@Override
public void delete(Integer id) {
clazzMapper.deleteById(id);
}- 在
ClazzMapper接口中增加deleteById方法,实现删除班级信息
//删除班级信息
@Delete("delete from clazz where id=#{id}")
void deleteById(Integer id);3.6.4 测试
Apifox测试:
先添加一条用于删除测试的班级信息数据

把刚刚添加的测试数据删除


- 前后端测试:
先添加一条用于删除测试的班级信息数据

把刚刚添加的测试数据删除

到此,关于班级管理的增删改查功能,我们就已经全部实现了。
🤖 Tlias 系统 - 作业部分_2
前面完成了
班级管理部分的内容,接着从学员管理继续 ...
四、学员管理
4.1 查询所有班级接口
4.1.1 需求

- 在新增学员的时候,要展示出所有的班级信息。
4.1.2 接口文档
参照接口文档
班级管理-->查询所有班级请求路径:
/clazzs/list请求方式:
GET接口描述:该接口用于查询所有班级信息
请求参数:无
响应数据案例:
{
"code": 1,
"msg": "success",
"data":[
{
"id": 7,
"name": "黄埔四期",
"room": "209",
"beginDate": "2023-08-01",
"endDate": "2024-02-15",
"masterId": 7,
"subject": 1,
"createTime": "2023-06-01T17:51:21",
"updateTime": "2023-06-01T17:51:21"
},
{
"id": 6,
"name": "JavaEE就业166期",
"room": "105",
"beginDate": "2023-07-20",
"endDate": "2024-02-20",
"masterId": 20,
"subject": 1,
"createTime": "2023-06-01T17:46:10",
"updateTime": "2023-06-01T17:46:10"
}
]
}4.1.3 功能开发
ClazzController增加list()方法
//查询所有班级接口(用于新增学员的时候,要展示出所有的班级信息。)
@GetMapping("/list")
public Result list(){
log.info("查询所有班级接口 ... ");
List<Clazz> clazzList = clazzService.list();
return Result.success(clazzList);
}ClazzService定义接口方法list()
//查询所有班级信息
List<Clazz> list();ClazzServiceImpl实现接口方法list()
//查询所有班级信息
@Override
public List<Clazz> list() {
return clazzMapper.getAllInfo();
}ClazzMapper接口中增加getAllInfo()
//查询所有班级信息
@Select("select * from clazz")
List<Clazz> getAllInfo();4.1.4 测试
Apifox测试

因为还没有写
学生的分页查询所以暂时还不能前后端联调
4.2 条件分页查询接口
4.2.1 需求

- 分页查找出数据库所有的学生信息 , 若有条件按条件筛选查询
4.2.2 接口文档
参照接口文档
学员管理-->学员列表查询请求路径:
/students请求方式:
GET接口描述:该接口用于学员列表数据的条件分页查询
请求参数格式:
queryString请求数据样例:
/students?name=张三°ree=1&clazzId=2&page=1&pageSize=5响应数据样例:
{
"code": 1,
"msg": "success",
"data": {
"total": 5,
"rows": [
{
"id": 3,
"name": "Lily",
"no": "2023001003",
"gender": 2,
"phone": "13309230912",
"degree": 4,
"idCard": "110090110090110090",
"isCollege": 0,
"address": "回龙观东大街110号",
"graduationDate": "2020-07-01",
"violationCount": 2,
"violationScore": 5,
"clazzId": 1,
"createTime": "2023-06-01T18:35:23",
"updateTime": "2023-06-01T19:37:42",
"clazzName": "黄埔班一期"
},
{
"id": 4,
"name": "Jerry",
"no": "2023001004",
"gender": 1,
"phone": "15309232323",
"degree": 4,
"idCard": "110090110090110090",
"isCollege": 0,
"address": "回龙观东大街110号",
"graduationDate": "2020-07-01",
"violationCount": 1,
"violationScore": 2,
"clazzId": 1,
"createTime": "2023-06-01T18:35:48",
"updateTime": "2023-06-01T19:37:35",
"clazzName": "黄埔班一期"
}
]
}
}4.2.3 基础代码准备
准备
Student班级管理的基础结构,包括Controller、Service、Mapper
StudentController
@Slf4j
@RestController
public class StudentController {
//注入Service层bean
@Autowired
private StudentService studentService;
}StudentService
public interface StudentService {
}StudentServiceImpl
@Service
public class StudentServiceImpl implements StudentService {
//注入Mapper层bean
@Autowired
private StudentMapper studentMapper;
}StudentMapper
@Mapper
public interface StudentMapper {
}4.2.4 SQL & Mapper
- 前面我们已经创建了实体类
Student
- 观察前端表格展示的数据列需要什么

- 这跟我们前面做班级的分页查询很相似
- 前面是需要展示
班主任的名称而且对应的Clazz数据库表中只有master_id - 这里是需要展示
班级的名称而且对应的Student数据库表中只有clazz_id
- 前面是需要展示
- 所以共同点就是都要做
多表查询
所以先做出基础的多表查询的
SQL代码:需要查询学生表中的所有信息,及根据
clazz_id作为班级表的id去查询clazzName班级的名称。
-- 基础多表查询代码
-- 需要按照 student 的 clazz_id 对应 clazz 表的 id 查出对应的班主任名称 clazzName
select s.* , c.name as clazzName
from student as s left join clazz as c on s.clazz_id = c.id- 查询结果如下:

- 根据这个基本的
SQL尝试着写一个Mapper接口
@Mapper
public interface StudentMapper {
//查询所有的学生信息及其班级名称
@Select("select s.* , c.name as clazzName from student as s left join clazz as c on s.clazz_id = c.id")
public List<Student> list();
}📌 注意:
注意,上述 SQL 语句中,给 班级名称 起了别名 clazzName ,是因为在接口文档中,
要求部门名称给前端返回的数据中,就必须叫 clazzName。 而这里我们需要将查询返回的每一条记录
都封装到 Clazz 对象中,那么就必须保证查询返回的字段名与属性名是一一对应的。
此时,我们就需要在 Student 中定义一个属性 ClazzName 用来封装班级名称。
刚刚建实体类的时候已经携带 , 具体如下高亮:
@Data
@NoArgsConstructor
@AllArgsConstructor
public class Student {
private Integer id; //ID
private String name; //姓名
private String no; //序号
private Integer gender; //性别 , 1: 男 , 2 : 女
private String phone; //手机号
private String idCard; //身份证号
private Integer isCollege; //是否来自于院校, 1: 是, 0: 否
private String address; //联系地址
private Integer degree; //最高学历, 1: 初中, 2: 高中 , 3: 大专 , 4: 本科 , 5: 硕士 , 6: 博士
private LocalDate graduationDate; //毕业时间
private Integer clazzId; //班级ID
private Short violationCount; //违纪次数
private Short violationScore; //违纪扣分
private LocalDateTime createTime; //创建时间
private LocalDateTime updateTime; //修改时间
private String clazzName;//班级名称
}- 代码编写完毕后,我们可以编写一个单元测试,对上述的程序进行测试:
@SpringBootTest
class TliasWebManagementApplicationTests {
@Autowired
private StudentMapper studentMapper;
@Test
public void testStudentList(){
List<Student> studentList = studentMapper.list();
studentList.forEach(System.out::println);
}
}- 运行单元测试后,我们看到控制台输出的数据:

可以看到,学生的信息,以及班级对应班主任的名称都查询出来了。
4.2.5 基础分页查询
先完成基础的分页查询,再在此基础上修改为
条件分页查询
4.2.5.1 思路
在
Controller层 :需要接收分页参数
page和pageSize,需要设置默认值, 使用
@RequestParam(defaultValue = "")log.info打印日志信息
然后调用
service层返回一个PageResult pageResult- 把这个
pageResult返回给前端
- 把这个
在
Service层 :- 接收参数
page和pageSize - 设置分页参数
PageHelper.startPage(page,pageSize); - 调用
Mapper层接口执行查询操作,获取一个返回的List studentList - 把
clazzList强转成Page类型 - 封装结果
return new PageResult(p.getTotal(), p.getResult());
- 接收参数
在
Mapper层 :- 只需要进行正常的列表查询即可,而且不需要考虑分页操作,就是一条正常的查询语句
4.2.5.2 代码实现
StudentController
//查询学生信息及其班主任名称
@GetMapping
public Result page(@RequestParam(defaultValue = "1") Integer page,
@RequestParam(defaultValue = "10") Integer pageSize){
log.info("查询学生信息,page:{} , pageSize:{}",page,pageSize);
PageResult<Student> pageResult = studentService.page(page,pageSize);
return Result.success(pageResult);
}StudentService
//查询学生信息及其班主任名称
PageResult<Student> page(Integer page, Integer pageSize);StudentServiceImpl
//查询学生信息及其班主任名称
@Override
public PageResult<Student> page(Integer page, Integer pageSize) {
//设置分页参数
PageHelper.startPage(page,pageSize);
//执行查询
List<Student> studentList = studentMapper.list();
//强转为 Page<Student> 类型
Page<Student> p = (Page<Student>) studentList;
//封装结果返回
return new PageResult<Student>(p.getTotal(),p.getResult());
}StudentMapper
//查询所有的学生信息及其班级名称
@Select("select s.* , c.name as clazzName from student as s left join clazz as c on s.clazz_id = c.id")
public List<Student> list();4.2.5.3 测试
Apifox测试:

- 前后端联调:

- 现在可以做一下
4.1.4 的前后端联调也就是 查询所有班级接口的前后端联调

可以发现也是没问题的 ...
4.3 新增学生信息接口
4.3.1 需求

- 在这个表单中我们先需要完成
页面回显的功能,把对应的学员信息回显到前端的这个表单上- 其中
所属班级我们已经在4.1完成了 - 点击保存按钮,根据用户填写的信息进行新增学生信息
- 其中
4.3.2 接口文档
参照接口文档
学员管理-->添加学员请求路径:
/students请求方式:
POST接口描述:该接口用于添加学员信息
请求参数格式:
application/json请求数据样例:
{
"name": "阿大",
"no": "2024010801",
"gender": 1,
"phone": "15909091235",
"idCard": "159090912351590909",
"isCollege": 1,
"address": "昌平回龙观",
"degree": 4,
"graduationDate": "2024-01-01",
"clazzId": 9
}4.3.3 功能开发
StudentController
//新增学生信息
@PostMapping
public Result save(@RequestBody Student student){
log.info("新增学生信息: {}",student);
studentService.save(student);
return Result.success();
}StudentService
//新增学生信息
void save(Student student);StudentServiceImpl
//新增学生信息
@Override
public void save(Student student) {
//补全基础信息
student.setCreateTime(LocalDateTime.now());
student.setUpdateTime(LocalDateTime.now());
//执行新增操作
studentMapper.insert(student);
}StudentMapper
//新增学生信息
@Insert("insert into student(name, no, gender, phone, id_card, is_college, address, degree, graduation_date, clazz_id, create_time, update_time)" +
"values (#{name},#{no},#{gender},#{phone},#{idCard},#{isCollege},#{address},#{degree},#{graduationDate},#{clazzId},#{createTime},#{updateTime})")
void insert(Student student);4.3.4 测试
Apifox测试

查看数据库有没有添加成功

前后端联调

填写信息后点击保存,添加成功

4.4 根据ID查询学生接口
4.4.1 需求

- 点击
编辑按钮的时候,我们需要页面回显该学生的信息
4.4.2 接口文档
参照接口文档
学员管理-->根据ID查询学员请求路径:
/students/{id}请求方式:
GET接口描述:该接口用于根据主键ID查询学员的信息
请求参数格式:路径参数
请求参数样例:
/students/8响应数据样例:
{
"code": 1,
"msg": "success",
"data": {
"id": 7,
"name": "Locos",
"no": "2023001010",
"gender": 1,
"phone": "13712345678",
"degree": 5,
"idCard": "110090110090110090",
"isCollege": 0,
"address": "回龙观东大街110号",
"graduationDate": "2020-07-01",
"violationCount": 0,
"violationScore": 0,
"clazzId": 2,
"createTime": "2023-06-04T18:27:27",
"updateTime": "2023-06-04T18:27:27"
}
}4.4.3 功能实现
StudentController
//根据ID查询学生
@GetMapping("/{id}")
public Result getInfo(@PathVariable Integer id){
log.info("根据 ID : {} 查询学生",id);
Student student = studentService.getInfo(id);
return Result.success(student);
}StudentService
//根据ID查询学生
Student getInfo(Integer id);StudentServiceImpl
//根据ID查询学生
@Override
public Student getInfo(Integer id) {
return studentMapper.getById(id);
}StudentMapper
//根据ID查询学生信息
@Select("select * from student where id=#{id}")
Student getById(Integer id);4.4.4 测试
Apifox测试

前后端联调

4.5 修改学生信息接口
4.5.1 需求

- 前面
4.4已经完成点击编辑按钮然后页面回显接着就是如果用户修改信息,点击保存需要修改学员信息。
4.5.2 接口文档
参照接口文档
学员管理-->修改学员请求路径:
/students请求方式:
PUT接口描述:该接口用于修改学员的数据信息
请求参数格式:
application/json请求参数样例:
{
"id": 7,
"name": "Locos",
"no": "2023001010",
"gender": 1,
"phone": "13712345678",
"degree": 5,
"idCard": "110090110090110090",
"isCollege": 0,
"address": "回龙观东大街110号",
"graduationDate": "2020-07-01",
"violationCount": 0,
"violationScore": 0,
"clazzId": 2
}4.5.3 功能开发
StudentController
//修改学生信息
@PutMapping
public Result update(@RequestBody Student student){
log.info("修改学生信息,{}",student);
studentService.update(student);
return Result.success();
}StudentService
//修改学生信息
void update(Student student);StudentServiceImpl
//修改学生信息
@Override
public void update(Student student) {
//更新修改时间
student.setUpdateTime(LocalDateTime.now());
//执行修改操作
studentMapper.updateById(student);
}StudentMapper
//修改学生信息
void updateById(Student student);StudentMapper.xml
<?xml version="1.0" encoding="UTF-8" ?>
<!DOCTYPE mapper
PUBLIC "-//mybatis.org//DTD Mapper 3.0//EN"
"http://mybatis.org/dtd/mybatis-3-mapper.dtd">
<mapper namespace="com.itheima.mapper.StudentMapper">
<!--修改学生信息-->
<update id="updateById">
update student
<set>
<if test="name != null and name != ''">name = #{name},</if>
<if test="no != null and no != ''">no = #{no},</if>
<if test="gender != null">gender = #{gender},</if>
<if test="phone != null and phone != ''">phone = #{phone},</if>
<if test="degree != null">degree = #{degree},</if>
<if test="idCard != null and idCard != ''">id_card = #{idCard},</if>
<if test="isCollege != null">is_college = #{isCollege},</if>
<if test="address != null and address != ''">address = #{address},</if>
<if test="graduationDate != null">graduation_date = #{graduationDate},</if>
<if test="violationCount != null">violation_count = #{violationCount},</if>
<if test="violationScore != null">violation_score = #{violationScore},</if>
<if test="clazzId != null">clazz_id = #{clazzId},</if>
<if test="createTime != null">create_time = #{createTime},</if>
<if test="updateTime != null">update_time = #{updateTime},</if>
</set>
where id = #{id}
</update>
</mapper>4.5.4 测试
Apifox测试

查看数据库的数据修改

前后端联调

更改后点击保存按钮,修改成功

4.6 删除学生信息接口
4.6.1 需求

这有两个按钮的接口需要实现:一个是
批量删除, 一个是单行的删除。那么这跟我们前面的案例的思考方式是一样的:我们没必要为这个去设计两个接口
我们只需要设计一个
根据ID来批量删除的接口,删除一个是Ids这个数组长度为 1 的情况
4.6.2 接口文档
参照接口文档
学员管理-->删除学员请求路径:
/students/{ids}请求方式:
DELETE接口描述:该接口用于批量删除学员信息
请求参数格式:路径参数
请求参数样例:
/students/1,2,3
4.6.3 功能开发
StudentController
//批量删除学生信息
@DeleteMapping("/{ids}")
public Result delete(@PathVariable List<Integer> ids){
log.info("根据 id 列表 : {} 批量删除学生信息",ids);
studentService.delete(ids);
return Result.success();
}StudentService
//批量删除学生信息
void delete(List<Integer> ids);StudentServiceImpl
//批量删除学生信息
@Override
public void delete(List<Integer> ids) {
studentMapper.deleteByIds(ids);
}StudentMapper
//批量删除学生信息
void deleteByIds(List<Integer> ids);StudentMapper.xml
<!--批量删除学生信息-->
<delete id="deleteByIds">
delete from student where id in
<foreach collection="ids" item="id" open="(" close=")" separator=",">
#{id}
</foreach>
</delete>4.6.4 测试
Apifox测试
先新增一条测试数据用于删除 ... (测试数据在学生表的 id 是 21)


前后端联调


4.7 违纪处理接口
4.7.1 需求

- 违纪处理一次,需要将
违纪次数+1,违纪扣分+前端输入的分数。 - 根据后面的接口文档可以看到,我们接收到前端有两个参数:
id,score- 那么我们要做的事情其实首先是
根据ID查询学生这个在前面4.4实现过了 - 然后再拿着这个学生信息对
violation_count加一,violation_score+score - 注意还需要修改
update_time改为当前时间
- 那么我们要做的事情其实首先是
📌 注意:
这涉及到多次与数据库交互了,这时候我们很自然的就会思考到 要不要使用事务 ,
前面是一个查询的操作,没有对数据进行改变,后面是一个修改操作,改变了数据。
感觉没什么必要使用事务啊 ... 。但是如果说在比较多用户的场景下,会不会说有一个用户读了信息,
紧接着另一个用户又读了信息。那么第一个用户读的信息就是基于它读的那个信息进行修改,
那要是第二个用户修改得比较快完成了呢?那么第一个修改了再覆盖数据,这样岂不是第二个用户的操作作废了...
所以为了养成好的习惯和不必要的风险 , 我们还是把事务加上去
4.7.2 接口文档
参照接口文档
学员管理-->违纪处理请求路径:
/students/violation/{id}/{score}请求方式:
PUT接口描述:该接口用于修改学员的数据信息
请求参数格式:路径参数
请求参数样例:
/students/violation/3/5
4.7.3 功能开发
StudentController
//违纪处理
@PutMapping("/violation/{id}/{score}")
public Result deal_violation(@PathVariable Integer id,@PathVariable Integer score){
log.info("违纪学生 id : {} , 扣除分数 : {}",id,score);
studentService.deal_violation(id,score);
return Result.success();
}StudentService
//违纪处理
void deal_violation(Integer id, Integer score);StudentServiceImpl
//违纪处理
@Transactional(rollbackFor = Exception.class)
@Override
public void deal_violation(Integer id, Integer score) {
//根据id查询学生
Student student = getInfo(id);
//违纪次数加一
student.setViolationCount((short) (student.getViolationCount() + 1));
//违纪分数 + score
student.setViolationScore((short) (student.getViolationScore() + score));
//执行修改
//更新修改时间涵盖在下面的修改信息接口
studentMapper.updateById(student);
}StudentMapper用到的getById()和updateById()都是前面有的
4.7.4 测试
Apifox测试

调用一下查询接口看看有没有改成功

一开始都是 0 的 , 现在次数+1,分数+5 , 没问题
前后端联调


- 到此,关于学生管理的增删改查功能,我们就已经全部实现了。
五、学员信息统计
5.1 班级人数统计接口
5.1.1 需求

- 如上面左图,统计出每一个班级的人数是多少, 主要注意接口文档以什么样的形式返回给前端数据
5.1.2 接口文档
参照接口文档
数据统计-->班级人数统计请求路径:
/report/studentCountData请求方式:
GET接口描述:统计每一个班级的人数
请求参数:无
响应数据样例:
{
"code": 1,
"msg": "success",
"data": {
"clazzList": ["Java就业100期","Java就业101期","Java就业102期","Java就业103期","Java就业104期"],
"dataList": [77,82,70,80,90]
}
}5.1.3 功能开发
reportController
//班级人数统计
@GetMapping("/studentCountData")
public Result countStudent(){
log.info("班级人数统计...");
ClazzOption clazzOption = reportService.countStudent();
return Result.success(clazzOption);
}reportService
//班级人数统计
ClazzOption countStudent();reportServiceImpl
//班级人数统计
@Override
public ClazzOption countStudent() {
//调用mapper接口,获取统计数据: map:clazz=JavaEE就业165期,num=2
List<Map<String,Object>> list = studentMapper.countStudentClazzData();
//构建职位列表
List<Object> clazz = list.stream().map(dataMap -> dataMap.get("clazz")).toList();
//构建数据列表
List<Object> num = list.stream().map(dataMap -> dataMap.get("num")).toList();
//封装返回结果
return new ClazzOption(clazz,num);
}StudentMapper
//班级人数统计
@Select("select c.name as clazz,count(*) as num from student s left join clazz c on c.id = s.clazz_id group by clazz_id order by num")
List<Map<String, Object>> countStudentClazzData();5.1.4 测试
Apifox测试

前后端联调

5.2 学员学历信息统计接口
5.2.1 需求

- 如上面右图,统计出每一种学历的人数是多少, 主要注意接口文档以什么样的形式返回给前端数据
5.2.2 接口文档
参照接口文档
数据统计-->学员学历统计请求路径:
/report/studentDegreeData请求方式:
GET接口描述:统计学员的学历信息
请求参数:无
响应数据样例:
{
"code": 1,
"msg": "success",
"data": [
{
"name": "初中",
"value": 5
},
{
"name": "高中",
"value": 6
},
{
"name": "大专",
"value": 126
},
{
"name": "本科",
"value": 182
},
{
"name": "硕士",
"value": 6
}
]
}5.2.3 功能开发
reportController
//统计学历信息
@GetMapping("/studentDegreeData")
public Result countStudentDegree(){
log.info("学历信息统计...");
List<Map<String,Object>> list = reportService.countStudentDegree();
return Result.success(list);
}reportService
//统计学历信息
List<Map<String, Object>> countStudentDegree();reportServiceImpl
//统计学历信息
@Override
public List<Map<String, Object>> countStudentDegree() {
//调用mapper接口,获取统计数据
return studentMapper.countStudentDegreeData();
}StudentMapper
//统计学历信息
@MapKey("name")
List<Map<String, Object>> countStudentDegreeData();StudentMapper.xml
<!--统计学历信息-->
<select id="countStudentDegreeData" resultType="java.util.Map">
select (case degree
when 1 then '初中'
when 2 then '高中'
when 3 then '大专'
when 4 then '本科'
when 5 then '硕士'
when 6 then '博士' end) as name
,count(*) as value
from student group by degree
</select>5.2.4 测试
Apifox测试

前后端联调

六、删除部门功能完善
6.1 需求
删除部门时:如果部门下有员工,则不允许删除该部门,
并给前端提示错误信息:
对不起,当前部门下有员工,不能直接删除!
📌 思路:
当删除部门的时候,在员工表查询一下所有员工的 dept_id 然后按这个进行 group by
返回的就是有员工的部门 id , 那么如果要删除的部门 id 包含在这个列表里面,那么就可以
抛出一个错误,然后用全局异常处理器处理...
6.2 功能开发
EmpMapper
//查找员工一共在哪些部门(用于如果部门下有员工则不能删除该部门)
@Select("select dept_id from emp group by dept_id")
List<Integer> getAllDeptWithEmp();DeptServiceImpl
/**
* 根据id删除部门
*/
@Override
public void deleteById(Integer id) {
List<Integer> allDeptWithEmp = empMapper.getAllDeptWithEmp();
if (allDeptWithEmp.contains(id)){
//那么就说明这个部门有员工,不能删除
throw new IllegalStateException("对不起,当前部门下有员工,不能直接删除!");
}
deptMapper.deleteById(id);
}GlobalExceptionHandler
//处理删除部门异常
@ExceptionHandler
public Result handleIllegalStateException(IllegalStateException e){
log.info("程序出错了:",e);
return Result.error(e.getMessage());
}6.3 测试
- 先添加一个用于测试的员工

Apifox测试

前后端联调

